Привод ROGER H20/370 для распашных ворот
H20/370 мощный высокотехнологичный привод для распашных ворот с шириной створки до 3 метров, с постоянным контролем усилия перемещения створки, функцией плавного старта и плавного торможения
В конструкции привода использовано новое компоновочное решение. В Корпусе у которого размещен электродвигатель и первая ступень редуктора неподвижно закреплены на колоне проема ворот (аналогично рычажным приводам). Вторая ступень редуктора (ходовой вал и ходовая втулка) расположены в отдельном корпусе, который шарнирно соединен с неподвижным корпусом. Вращение ходовому винту и ходовой втулке передается через червячную и коническую передачи.
Использование новой компоновки, позволило увеличить перемещение ходовой втулки до 370мм для приводов серии Н20/3..., и до 550мм для приводов серии Н20/5.. . Так же новая компоновка и увеличение перемещения ходовой втулки, позволила сместить точку крепления переднего кронштейна дальше от петли. Это дает возможность увеличить момент развиваемый приводом для перемещения створки и обеспечить угол открытия створки до 120⁰. Система крепления привода к проему позволила перейти к полностью скрытой проводке.
Особенности:
- Качество и долговечность.
Все валы и поворотные элементы привода смонтированы на 11 подшипниках качения.
- Контроль и безопасность.
Привод оснащен оптическим датчиком движения (энкодер) для постоянного контроля движения ворот.
- Надежная червячная передача.
Вращение двигателя через стальной червяк передается на червячное колесо и коническую передачу поворотного узла.
- Надежные соединения.
Все электрические соединения расположены вне подвижных элементов привода.
- Исключительное качество.
Стальной пятизаходный ходовой винт с малым шагом, подвергнутый закалке и прецизионной шлифовке, установлен в подшипниковых опорах. Винт передает вращение на ходовую втулку, изготовленную из высококачественной бронзы. Такое сочетание решений обеспечивает равномерное распределение усилия по контактным поверхностям, существенно уменьшая трение, нагрев и износ деталей.
- Температурная защита.
Мотор снабжен защитой от перегрева (температура срабатывания 140⁰).
- Удобная разблокировка.
Рукоятка разблокировки, позволяет плавно разблокировать привод с минимальным усилием. Каждый привод комплектуется индивидуальным ключем для открытия рукоятки разблокировки.
- Ограничитель хода.
Для облегчения монтажа в конструкцию включен подвижный механический ограничитель хода.
Состав комплекта:
- H20/370 привод для распашных ворот - 1 шт.
Технические характеристики:
| Модель | H20/370 | H20/375 | H20/550 | H20/555 |
|---|---|---|---|---|
| Класс защиты (IP): | 54 | |||
| Электропитание мотора (В/Гц): | ~220/50 | |||
| Номинальная мощность (Вт): | 200 | 215 | 200 | 215 |
| Ток (А): | 1.1 | 1.2 | 1.1 | 1.2 |
| Интенсивность использования (%): | 40 | |||
| Термопредохранитель мотора (°С): | 140 | |||
| Линейное тяговое усилие (Н): | 400÷3000 | 400÷3200 | 400÷3000 | 400÷3200 |
| Ход тяговой втулки (мм): | 370 | 550 | ||
| Скорость тяговой втулки (см/с): | 1.66 | 1.06 | 1.66 | 1.06 |
| Время открываения на угол 90° (с): | 19 | 28 | 27 | 42 |
| Масса привода (кг): | 10.1 | 10.6 | ||
| Диапозон рабочих температур (°С): | -25 ÷ +70 | |||
- H20/370 - линейный привод быстрый с оптическим энкодером
- H20/550 - линейный привод быстрый с оптическим энкодером
- H20/375 - линейный привод медленный с оптическим энкодером
- H20/555 - линейный привод медленный с оптическим энкодером
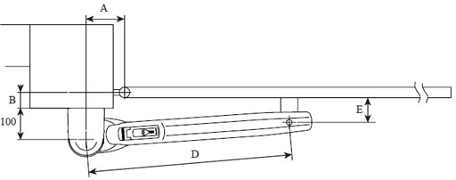
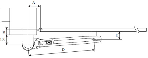
Дополнительно:


| Модель | А (мм.) | В (мм.) | D (мм.) | α макс. (°) | E (мм.) | |
|---|---|---|---|---|---|---|
| H20/370 H20/375 |
100 | 30 | 700 | 90 | 90 | |
| 120 | 50 | 95 | ||||
| 150 | 80 | 105 | ||||
| 180 | 100 | 110 | ||||
| 100 | 100 | 90 | ||||
| H20/550 H20/555 |
100 | 80 | 880 | 90 | 123 | |
| 50 | 130 | 100 | ||||
| 150 | 100 | 105 | ||||
| 200 | 100 | 110 | ||||
| 250 | 80 | 120 | ||||


.jpg)

