Комплект автоматики BFT E5
E5 комплект автоматики для распашной калитки шириной створки до 1,8 метров.
Товар снят с производства. Аналог E5 BT A 12 или E5 BT A 18.
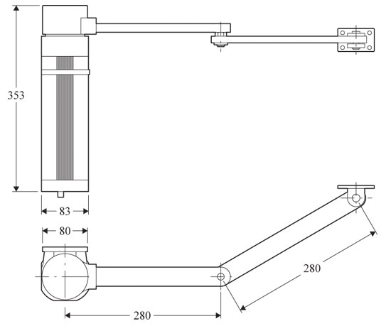
Автоматика BFT E5 для распашной калитки весом створки до 200 кг. и шириной створки до 1,8 метра. Данный привод в комплекте с электромеханическим редуктором, сделан очень компактным, что позволяет устанавливать его практически к любому столбу.
Запирание и разблокировка ворот обеспечивается дополнительным электромеханическим замком. Разблокировка электромеханического замка и открытие ворот осуществляется дистанционно с помощью пульта дистанционного управления.
Состав комплекта:
- P930003 00001 привод E5 - 1 шт.
- D113716 00002 блок ELBA - 1 шт.
Технические характеристики:
- Блок управления: ALCOR N
- Интенсивность использования: 50%
- Максимальная масса створки, Кг: 200
- Максимальный размер створки, м: 1.8
- Напряжение (двигателя), В: ~230В, 50Гц
- Напряжение (питающее), В: ~230В, 50Гц
- Потребляемая мощность, Вт: 200
- Время открывания, сек: 22
- Угол открывания, Град: 120
- Защита: встроеная
- Масса устройства, Кг: 8
- Класс защиты: IP54
- Диапазон температур, ° C: -20 - +60
Дополнительно:



