Комплект автоматики BFT VIRGO KIT
VIRGO KIT комплект рычажной автоматики для распашных ворот шириной створки до 2,5 метров.
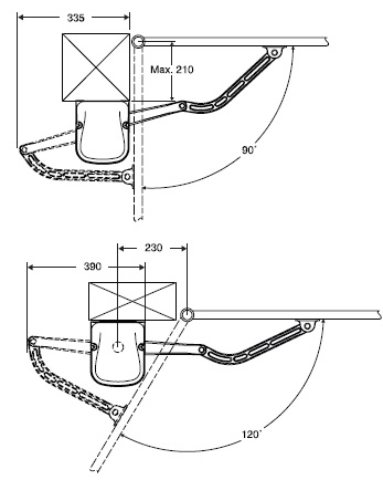
Автоматика BFT Virgo разработана для легких распашных ворот со створкой не более 2,5 метров шириной и весом до 200 кг. Самоблокирующийся привод с шарнирным рычагом, не требует установки электрозамка. Подходит для установки на столбы небольших размеров. Питание 24В и встроенный блок управления Linx позволяют реализовать множество функций. Возможность установить режим калитки. Функция замедления, обнаружения помех. В блоке управлния с микропроцессором уже задан стандартный набор данных, при необходимости вы можете запрограммировать функции с помощью встроенного программатора с окошком.
Привод имеет встроенные концевые выключатели открывания и закрывания. Конденсатор и микровыключатели уже установлены и подключены к двигателю. Для разблокировки необходимо вставить разблокировочный ключ, повернуть по часовой стрелке, повернуть специальную ручку, после этого возможно управлять воротами вручную. Для обратной блокировки нужно вернуть ручку на место и закрыть ключом.
Состав комплекта:
- Привод VIRGO с блоком управления - 1шт.
- Привод VIRGO SQ - 1 шт.
- Брелок MITTO2 - 2 шт.
- Сигнальная лампа RAY X SA 24V - 1 шт.
- Фотоэлементы CELLULA130 - 1 компл.
Технические характеристики:
- Блок управления: LINX (встроен)
- Интенсивность использования: Интенсивное
- Максимальная масса створки, Кг: 200
- Максимальный размер створки, м: 2,0
- Напряжение (двигателя), В: 24В
- Напряжение (питающее), В: ~230В, 50Гц
- Потребляемая мощность, Вт: 40
- Время открывания, сек: 14
- Угол открывания, град: 120
- Тип концевого выключателя: встроенный
- Защита: встроенная
- Тип разблокировки: механический, рукоятка
- Масса устройства, кг: 8
- Резервное питание: VIRGO BAT
- Класс защиты: IP44
- Диапазон температур, ° C: -20 - +60
Дополнительно:
.png)



.png)
