Комплект автоматики FAAC 390KIT
390KIT комплект автоматики для распашных ворот шириной створки до 3 метров
Электропривод FAAC 390 предназначен для автоматизации распашных уличных ворот со створками длиной до 1,8 метров без электромеханического замка. С замком до 3 метров.
Преимущества:
- возможность открытия створок ворот на 125°, как внутрь, так и наружу;
- удобная настройка привода благодаря наличию цифрового дисплея на блоке управления привода.
Состав комплекта:
- 390 привод электромеханический рычажный, 230В, без рычагов, самоблокирующийся редуктор, без концевиков - 2 шт.
- 738705 рычаги из алюминиевого сплава окрашенные шарнирные, пара: прямое ведущее (390мм) и изогнутое ведомое (480мм) плечи, для 1 привода 390 серии - 2 шт.
- 720119 корпус "Е" для плат управления и принадлежностей, крышка на винтах, IP55, (ШxГxВ): 204x85x265мм - 1 шт.
- 390682 микровыключатель с принадлежностями для обозначения одного конечного положения привода 390 - 4 шт.
- 455 D плата управления для 2х моторов 230В, входы концевиков и релейных фотоэлементов, радиоразъем RP - 1 шт.
Технические характеристики:
- Питающее напряжение - 230 В (+6%-10%)/50 Гц
- Потребляемая мощность - 280 Вт
- Максимальный момент вращения - 250 Нм
- Угловая скорость - 15 º/сек
- Интенсивность - 15 циклов/час
- Рабочая температура - от -30 до +55 ºС
- Вес двигателя - 11,5
- Класс защиты - IP44
- Максимальная длина створок - 1,8 без электромеханического замка
- Частота вращения - 960 об/мин
- Коэффициент редукции 1:640
- Термозащита - 140 ºС
- Потребляемый ток - 1,5 А
- Конденсатор - 8 мкФ
Дополнительно:
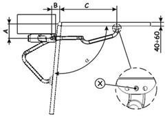
Рекомендации по применению автоматики 390 в зависимости от параметров ворот:
открытие створок внутрь (приводы установлены внутри)

Внимание: между петлей ворот и столбом расстояние не должно превышать 300 мм! Для открывания створок на угол 120 град, необходимо обязательно крепить привод в указанной точке X.
| А, мм | В, мм | C max, мм | угол открывания, град |
| 60-110 | 110- 130 | 730 | 90 |
| 110-160 | 720 | ||
| 160-210 | 110- 130 | 710 | 90 |
| 210-260 | 700 | ||
| 260-310 | 110-130 | 690 | 90 |
| 310-360 | 670 | ||
| 60-110 | 190-210 | 650 | 120 |
| 110-160 | 230-250 | 600 | |
| 160-210 | 290-310 | 540 | 120 |
| 210-260 | 310-330 | 510 | 120 |
открытие створок наружу (приводы установлены внутри)

| угол открывания, град | A, мм | B, мм | C макс, мм |
| 90 | 60-110 | 110-130 | 430 |
| 90 | 110-160 | 380 | |
| 90 | 160-210 | 110-130 | 330 |
| 90 | 210-260 | 280 | |
| 90 | 260-310 | 110-130 | 240 |
Сопутствующие товары
Автоматика
Радиоуправление
Аксессуары
Запасные части


