Привод ROGER R20/300 для распашных ворот
R20/300 привод для распашных ворот со створками до 3 метров и массой 800 килограмм, 1 концевой выключатель, открывание на 90° за 18 секунд
Электромеханические приводы линейного типа с самотормозящими редукторами для автоматизации распашных ворот со створками шириной до 3 метров и весом до 800 кг.
Два варианта цветового исполнения корпуса позволяют более гибко решать задачи дизайна автоматических ворот. Анодированный или с порошковым покрытием алюминиевый корпус не подвержен влиянию агрессивных факторов окружающей среды.
Особенности конструкции:
- Самотормозящий редуктор надежно запирает ворота без установки дополнительных замков. На случай отсутствия напряжения в электросети, для открывания ворот вручную, предусмотрена прочная и удобная рукоятка разблокировки, отпирающаяся персональным ключом.
- Концевые выключатели открывания и закрывания размещаются в пазу, выполненном в верхней части кожуха ходового винта и защищены крышкой. Быстрая регулировка конечных положений хода ворот осуществляется простым перемещением каретки выключателя до нужной точки срабатывания.
- Стальной пятизаходный ходовой винт с малым шагом нарезки витков, подвергнутый прецизионной механообработке и закалке, поддерживаемый двумя шарикоподшипниками со стороны редуктора и подшипником скольжения со стороны передней крышки привода, обеспечивает равномерное распределение усилия по контактной поверхности шарнирной втулки. Таким образом, реализуется исключительная плавность движения ворот и прочность конструкции.
- Большое тяговое усилие при небольшой массе и габаритах привода достигается благодаря использованию схемы червячного редуктора с наклонным расположением двигателя. Вращение двигателя через стальной червяк передается на бронзовое червячное колесо ходового винта. Такое сочетание материалов существенно уменьшает износ и нагрев деталей.
- Штатный зажим позволяет выполнить безопасный и герметичный ввод кабеля электропитания мотора. Стартовый конденсатор и концевые выключали скоммутированы на клеммной колодке внутри корпуса привода, в результате чего значительно упрощаются все электрические подключения.
Состав комплекта:
R20/300 привод ~ 230 В - 1 шт.
Технические характеристики:
| Модель | R20/300 R20/317 | R20/302 | R20/500 R20/517 | R20/502 |
|---|---|---|---|---|
| Класс защиты (IP): | 54 | 54 | 54 | 54 |
| Электропитание мотора (В/Гц): | ~220/50 | ~220/50 | ~220/50 | ~220/50 |
| Номинальная мощность (Вт): | 200 | 215 | 200 | 215 |
| Ток (А): | 1.1 | 1.2 | 1.1 | 1.2 |
| Интенсивность использования (%): | 50 | 60 | 50 | 60 |
| Термопредохранитель мотора (°С): | 140 | 140 | 140 | 140 |
| Линейное тяговое усилие (Н): | 400÷3000 | 400÷3200 | 400÷3000 | 400÷3200 |
| Ход тяговой втулки (мм): | 320 | 320 | 520 | 520 |
| Скорость тяговой втулки (см/с): | 1.66 | 1.06 | 1.66 | 1.06 |
| Время открываения на угол 90° (с): | 18 | 27 | 27 | 42 |
| Масса привода (кг): | 7.2 | 7.2 | 7.8 | 7.8 |
| Диапозон рабочих температур (°С): | -25 ÷ +70 | |||
Дополнительно:
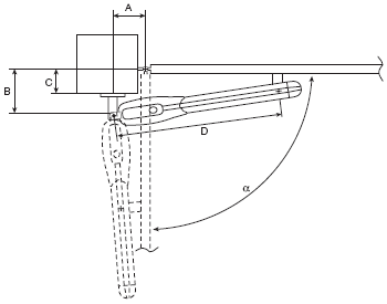
Рекомендованные установочные размеры:

| Модель | А (мм.) | В (мм.) | C макс. (мм.) | D (мм.) | α (°) |
|---|---|---|---|---|---|
| R20/300; R20/301 | 130 | 130 | 60 | 730 | 90 |
| R20/302; R20/303 | 130 | 110 | 50 | 730 | 120 |
| R20/500; R20/501 | 200 | 200 | 120 | 950 | 90 |
| R20/502; R20/503 | 200 | 140 | 70 | 950 | 130 |
Сопутствующие товары
Автоматика
Радиоуправление
Аксессуары



